|
|
|
| PZ73(H/X/Y)-(1.0/1.6)手動型閘閥 |
| 產品型號:pz73 |
|
|
主要性能規范:
|
公稱壓力(MPa)
|
殼體試驗(MPa)
|
密封試驗(MPa)
|
工作溫度
|
適用介質
|
|
1.0
1.6
|
1.5
2.4
|
1.1
1.8
|
≤100℃
≤100℃
|
紙漿、污水、煤漿、灰、渣水混和物
|
|
主要零部件材質:
|
體、蓋
|
閘閥
|
閥桿
|
密封面
|
|
不銹鋼、碳鋼、灰鑄鐵
|
碳鋼、不銹鋼
|
不銹鋼
|
橡膠、四氟、不銹鋼、硬質合金
|
|
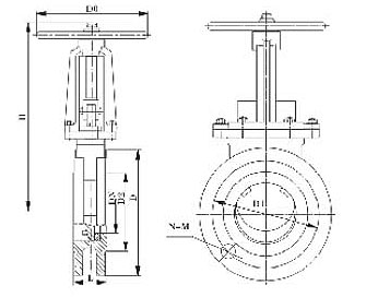
主要外形及連接尺寸(mm):
|
MPa
|
DN
|
L
|
D
|
D1
|
D2
|
H
|
N-M
|
D0
|
W(Kg)
|
|
1.0
|
50
|
43
|
160
|
125
|
100
|
285
|
4-M16
|
180
|
8
|
|
65
|
46
|
180
|
145
|
120
|
298
|
4-M16
|
180
|
10
|
|
80
|
46
|
195
|
160
|
135
|
315
|
4-M16
|
220
|
12
|
|
100
|
52
|
215
|
180
|
155
|
365
|
8-M16
|
220
|
14
|
|
125
|
56
|
245
|
210
|
185
|
400
|
8-M16
|
230
|
22
|
|
150
|
56
|
280
|
240
|
210
|
475
|
8-M20
|
280
|
29
|
|
200
|
60
|
335
|
295
|
265
|
540
|
8-M20
|
360
|
38
|
|
250
|
68
|
390
|
350
|
320
|
630
|
12-M20
|
360
|
66
|
|
300
|
78
|
440
|
400
|
368
|
780
|
12-M20
|
400
|
100
|
|
350
|
78
|
500
|
460
|
428
|
885
|
16-M20
|
400
|
119
|
|
400
|
102
|
565
|
515
|
482
|
990
|
16-M22
|
400
|
195
|
|
450
|
114
|
615
|
565
|
532
|
1100
|
20-M22
|
530
|
285
|
|
500
|
127
|
670
|
620
|
585
|
1200
|
20-M22
|
530
|
389
|
|
600
|
154
|
780
|
725
|
685
|
1450
|
20-M27
|
600
|
529
|
|
700
|
165
|
895
|
840
|
800
|
1700
|
24-M27
|
600
|
790
|
|
800
|
190
|
1010
|
950
|
898
|
2000
|
24-M30
|
680
|
850
|
|
900
|
203
|
1110
|
1050
|
1005
|
2300
|
28-M30
|
680
|
900
|
|
1000
|
216
|
1220
|
1160
|
1115
|
2500
|
28-M30
|
700
|
1050
|
|
1200
|
254
|
1450
|
1380
|
1325
|
2800
|
32-M36
|
800
|
1300
|
|
1.6
|
50
|
43
|
160
|
125
|
99
|
285
|
4-M16
|
180
|
8.5
|
|
65
|
46
|
185
|
145
|
120
|
295
|
4-M16
|
180
|
10.7
|
|
80
|
46
|
200
|
160
|
135
|
315
|
8-M16
|
220
|
13
|
|
100
|
52
|
220
|
180
|
155
|
365
|
8-M16
|
220
|
15
|
|
125
|
56
|
250
|
210
|
185
|
400
|
8-M16
|
230
|
23.5
|
|
150
|
56
|
285
|
240
|
210
|
475
|
8-M20
|
280
|
31
|
|
200
|
60
|
340
|
295
|
265
|
540
|
12-M20
|
360
|
40.7
|
|
250
|
68
|
405
|
355
|
310
|
630
|
12-M22
|
360
|
70
|
|
300
|
78
|
460
|
410
|
375
|
780
|
12-M22
|
400
|
107
|
|
350
|
78
|
520
|
470
|
435
|
885
|
16-M22
|
400
|
129
|
|
400
|
102
|
580
|
525
|
485
|
990
|
16-M27
|
400
|
215
|
|
450
|
114
|
640
|
585
|
545
|
1100
|
20-M27
|
530
|
305
|
|
500
|
127
|
715
|
650
|
609
|
1200
|
20-M30
|
530
|
410
|
|
600
|
154
|
840
|
770
|
720
|
1450
|
20-M36
|
600
|
550
|
|
700
|
165
|
910
|
840
|
788
|
1700
|
24-M36
|
600
|
820
|
|
800
|
190
|
1025
|
950
|
898
|
2000
|
24-M36
|
680
|
950
|
|
900
|
203
|
1125
|
1050
|
998
|
2300
|
28-M36
|
680
|
1020
|
|
1000
|
216
|
1255
|
1170
|
1110
|
2500
|
28-M42
|
700
|
1120
|
|
1200
|
254
|
1485
|
1390
|
1325
|
2800
|
32-M48
|
800
|
1480
|
|
|
|
|